10/18路红外遥控电路

 

 

  BA5048、BA5049和BA5050种集成电路均属于多路红外遥控电路,其中BA5048是发射编码电路,BA5049和BA5050是接收解码电路。BA5048和BA5049配对使用可形成5路电平和5路脉冲输出;BA5048和BA5050配对使用可形成6路电平、10路脉冲和2路反相输出。这3种集成电路可广泛用于音响、电动窗帘、空气清新机、电源控制等各种小家电的红外遥控。
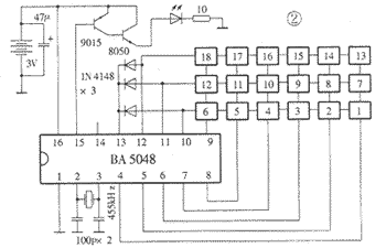
  BA5048、BA5049和BA5050的引脚排列如图1所示。BA5048的引脚功能如下:①脚VDD和{16}脚VSS为电源输入,输入电压范围为1.5~5.0V;②脚OSC1和③脚OSC2外接455kHz晶振;④脚K1~⑨脚K6为按键矩阵输入;{10}脚T1~{12}脚T3为按键矩阵扫描输出,与K1~K6配合最多可形成18种功能;{13}脚CODE为代码输入;{14}脚TE为测试端口,一般悬空;{15}脚DO为载波信号输出。BA5048的典型应用电路如图2所示。

t5301.gift5302.gif

  BA5049的引脚功能如下:①脚VDD和{16}脚VSS为电源输入,输入电压范围为1.5~5.0V;②脚DI为数据信号输入端,接红外接收头的数据输出脚;③脚HP1~⑧脚HP5为电平输出端;{12}脚SP1~⑧脚SP5为脉冲输出端,高电平脉冲宽度约107ms;{13}脚C2和{14}脚C3为代码输入;{15}脚OSC外接阻容振荡元件。BA5050的引脚功能与BA5049类似,不同之处是BA5050多了两个反相输出端,电平和脉冲输出端的个数不同。BA5049的典型应用电路如图3所示,BA5050应用电路与之相近。

t5303.gif

  图4是BA5049或BA5050用于遥控窗帘的电路。静态时HP1、HP2均输出低电平,继电器J1、J2释放,转换接点均打在“1”位。当HP1输出高电平时,继电器J1吸合,其转换接点打在“2”位,电机“M”得电工作,由于电机加的是负电压,故电机反转;当HP2输出高电平时,继电器J2吸合,其转换接点打在“2”位,电机“M”亦得电工作,由于电机加的是正电压,故电机正转。当然,HP1和HP2不能同时输出高电平。

t5304.gif

  有些应用场合需要用到互锁功能,即各输出端只能有一个输出高电平,其余均输出低电平。利用BA5049和BA5050的电平或脉冲输出,外加一片74LS374或74LS273D锁存器可完成此功能。
  74LS374有8个数据输入端D1~D8、8个数据输出端Q1~Q8、时钟输入端CL、时钟使能端CE。当CE为低电平时,在CL的上升沿,电路将D1~D8输入端的状态分别传送至Q1~Q8并锁存。图5是用74LS374组成的8路互锁开关电路。当8路输入中任意一路出现正脉冲时,这脉冲一方面被送至74LS374的数据输入端,另一方面经二极管“或”门同时送至时钟输入端CL,所以,74LS374的对应输出端输出高电平,且只有对应输出端输出高电平,由此形成互锁功能。

t5305.gif

 

 

欢迎索取免费详细资料、设计指南和光盘

中国传感器科技信息网:HTTP//WWW.SENSOR-IC.COM/

工控安防网:HTTP//WWW.PC-PS.NET/

消费电子专用电路网:HTTP://WWW.SUNSTARE.COM/

地址: 深圳市福田区福华路福庆街鸿图大厦1602    E-MAILszss20@163.com

电话:0755-83387030  83387016

传真:0755-83376182  83338339   邮编:518033  手机:(0)13902971329

E-MAIL:xjr5@163.com
 MSN: SUNS8888@hotmail.com
 QQ: 195847376
  技术支持: 0755-83394033 13501568376

深圳展销部:深圳华强北路赛格电子市场2583  TEL/FAX0755-83665529  13823648918 FAX:0755-82914956

北京分公司:北京海淀区知春路132号中发电子大厦3097

TEL4006579498  18927445855  13823791822  FAX010-62543996 

上海分公司:上海市北京东路668号上海賽格电子市场地下一层D25

TEL4006571586  56703037  13823676822  FAX021-56703037

西安分公司:西安高新开发区20(中国电子科技集团导航技术研究所

           西安劳动南路88号电子商城二楼D23 

TEL4006572198  13072977981  FAX:029-88789382